ДРП-В
Доступен для скачивания
краткий каталог продукции:
Датчик потока воздуха ДРП-В (LC 013) для сигнализации о наличии или отсутствии напора воздушного потока. Может использоваться в качестве сигнального контакта или для индикации неисправности вентилятора или закупоривания вытяжки. Особенности:
Версия: 2022-03-10-ЛВС
- Рекомендованное монтажное положение датчика: горизонтально, шторкой вниз
- Датчик крепится хомутом или зажимом
- Компактный размер
| Параметр
| Значение | |
| Рабочая среда
| Воздух
| |
| Максимальная скорость воздушного потока | 50 м/с | |
| Порог срабатывания контакта | 2,5 м/с | |
| Гистерезис | 1 м/с | |
| Контакт | НО или НЗ | |
| Тип контакта
| Геркон
| |
| Коммутируемая мощность | 10 Вт | |
| Реле | НО: =0,17 А, 60 В
НЗ: =0,5 А, 250 В | |
| Срок службы
| не менее 100 000 циклов
| |
| Условия эксплуатации
| −20…+50°С, ≤ 70%RH
| |
| Степень защиты
| IP20
| |
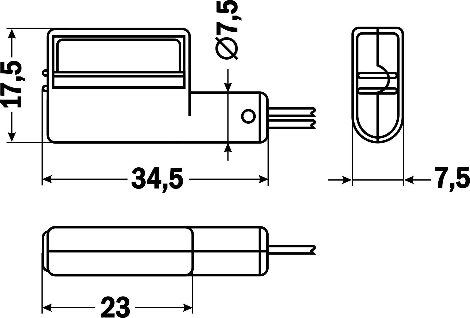
| Габаритные размеры
| 34,5×17,5×7,5 мм
| |
| Вес
| 6 г
| |
| Габаритные размеры
|
ДРП-В |
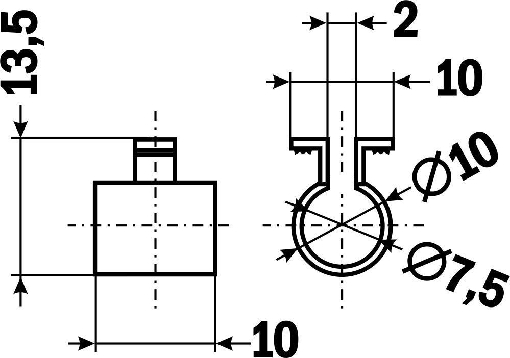
Хомут |
Зажим |
Версия: 2022-03-10-ЛВС
| Документ | Дата обновления |
| Паспорт на ДРП-В, ДРП-ВР | 25.01.2025 |
