ПД532
Доступен для скачивания
краткий каталог продукции:
Пневмоджойстик (пневмопереключатель механический) ПД532 предназначен для распределения воздушных потоков, управления исполнительными устройствами пневмосистем.
Пневмоджойстики относятся к направляющей аппаратуре и служат для управления направлением движения потоков сжатого воздуха. Управление осуществляется за счет переключения схемы соединения внутренних каналов распределителя с входными и выходными присоединительными отверстиями.
Технические характеристики:
| Параметр | Значение |
| Тип распределителя
| 5/3 (5-линейный, 3-позиционный) |
| Рабочая среда | Воздух (тонкость очистки 25 мкм) |
| Присоединение рабочих портов | G¼"
|
| Присоединение портов выхлопа
| G⅛"
|
| Рабочее давление | 0…0,8 МПа |
| Рабочая температура | 0…+60°C |
| Исполнение | С фиксацией или с самовозвратом |
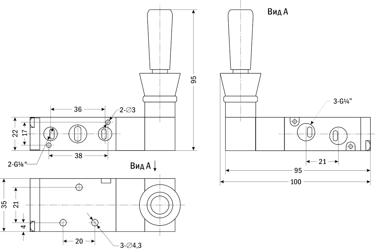
| Габаритные размеры | 95×100×35 мм |
| Вес | 188 г |
| Пневматическая схема
| ||
ПД532Ф С фиксацией |
ПД532 С самовозвратом | |
|
Расшифровка обозначений:
P – порт питания;
А – рабочий порт;
B – рабочий порт;
R – порт выхлопа;
S – порт выхлопа.
| ||
Для управления пневмоцилиндрами двустороннего действия используется пневмоджойстик ПД532, имеющий возможность коммутировать линии питания, потребителя и выхлопа. Такой пневмоджойстик обозначается как 5/3 (5-линейный, 3-позиционный). Это означает, что он имеет 5 каналов ввода-вывода: вход (от источника воздуха), 2 выхода (для подключения рабочего органа) и 2 выхлопа (для выброса воздуха при обратном ходе рабочего органа) и 3 возможных положения золотника.
В нейтральном положении все порты закрыты. При переводе рукоятки в положение 1 воздух подается через порт питания P на рабочий порт А, при этом рабочий порт В соединен с портом выхлопа S. При переводе рукоятки в положение 2 порт питания Р переключается на рабочий порт В, а рабочий порт А соединяется с портом выхлопа R.
Модель ПД532 – с самовозвратом, т.е. возврат в исходное положение происходит сразу после снятия нажима под действием возвратной пружины.
Модели ПД532Ф – с фиксацией, т.е. возврат в исходное положение производится вручную.
| Габаритные размеры |
![]() |
| Документ | Дата обновления |
| Паспорт на ПД532 | 28.12.2024 |

