РП432.Б
Доступен для скачивания
краткий каталог продукции:
Пневморычаг (пневмопереключатель механический) РП432.Б предназначен для распределения воздушных потоков, управления исполнительными устройствами пневмосистем.
Пневморычаги относятся к направляющей аппаратуре и служат для управления направлением движения потоков сжатого воздуха. Управление осуществляется за счет переключения схемы соединения внутренних каналов распределителя с входными и выходными присоединительными отверстиями.
Пневморычаги относятся к направляющей аппаратуре и служат для управления направлением движения потоков сжатого воздуха. Управление осуществляется за счет переключения схемы соединения внутренних каналов распределителя с входными и выходными присоединительными отверстиями.
Прежнее название: РП432Технические характеристики:
| Параметр | Значение | |
| Тип распределителя
| 4/3 (4-линейный, 3-позиционный)
| |
| Рабочая среда | Очищенный воздух (тонкость очистки 25 мкм)
| |
| Присоединение | G¼"
| |
| Рабочее давление | 0…0,8 МПа | |
| Рабочая температура | 0…+60°C | |
| Исполнение | С фиксацией | |
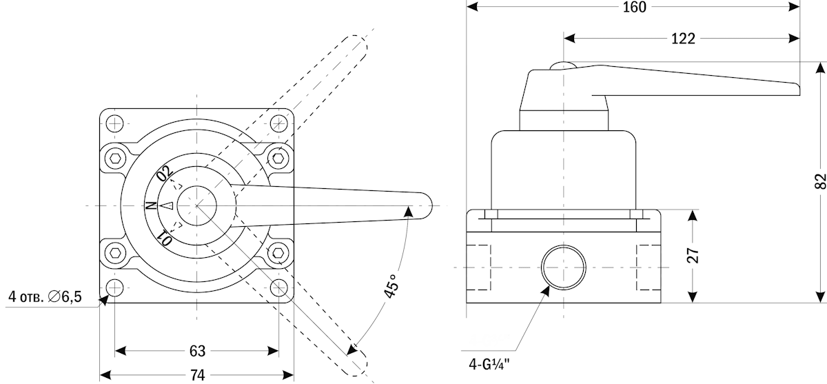
| Габаритные размеры | 82×160×74 мм
| |
| Пневматическая схема
| Расшифровка обозначений |
![]() | Р - порт питания;
А - рабочий порт; В - рабочий порт; R - порт выхлопа. |
Описание прибора:
Для управления пневмоцилиндрами двустороннего действия используется пневморычаг РП432.Б, имеющий возможность коммутировать линии питания, потребителя и выхлопа. Такой пневморычаг обозначается как 4/3 (4-линейный, 3-позиционный). Это означает, что он имеет 4 канала ввода-вывода: вход (от источника воздуха), 2 выхода (для подключения рабочего органа) и выхлоп (для выброса воздуха при обратном ходе рабочего органа) и 3 возможных положения золотника.
В нейтральном положении N все порты перекрыты (см. чертеж). При переводе рукоятки в положение 01 порт питания Р соединяется с рабочим портом А, а рабочий
порт В соединяется с портом выхлопа R. При переводе рукоятки в положение 02 порт питания Р переключается на рабочий порт В, а рабочий порт А соединяется с портом выхлопа R.
порт В соединяется с портом выхлопа R. При переводе рукоятки в положение 02 порт питания Р переключается на рабочий порт В, а рабочий порт А соединяется с портом выхлопа R.
| Габаритные размеры |
![]() |
Версия: 2025-05-29-СДГ
| Документ | Дата обновления |
| Паспорт на РП432 | 30.05.2025 |


